BlockNet10 - CNN for CIFAR-10 dataset

Overview

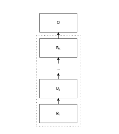
BlockNet10 is a neural network architecture designed for image classification tasks using the CIFAR-10 dataset. This model implements a sequence of intermediate blocks (B1, B2, ..., BK) followed by an output block (O).

Architecture Details

Intermediate Block (Bi)

Each intermediate block receives an input image x and outputs an image x'. The block comprises L independent convolutional layers, denoted as C1, C2, ..., CL.

Each convolutional layer Cl in a block operates on the input image x and outputs an image Cl(x).

Equation 1

The output image x' is computed as x' = a1C1(x) + a2C2(x) + ... + aLCL(x), where a = [a1, a2, ..., aL]T is a vector computed by the block.

The vector a is obtained by computing the average value of each channel of x and passing it through a fully connected layer with the same number of units as convolutional layers in the block.

Figure 1

Output Block (O)

The output block processes the final output image from the intermediate blocks for classification.

Analytics

Epoch Number Train Accuracy Test Accuracy Average Loss
50 75.43 80.56 0.685

Clone on GitHub

You can contribute to the advancement of this architecture, changes in hyperparameter, or solve issues here.

Citation

If you use BlockNet10 in your research or work, please cite it as follows:

@article{blocknet10,
  title={BlockNet10: CIFAR-10 Image Classifier},
  author={Siddhesh Kulthe},
  year={2024},
  publisher={Hugging Face},
  url={https://huggingface.co/siddheshtv/BlockNet10}
}

license: mit

Downloads last month
7
Inference Providers NEW
This model isn't deployed by any Inference Provider. 🙋 Ask for provider support